15 октября - международный день Тризовца В этот день исполняется 75 лет со дня Рождения автора ТРИЗ, изобретателя, писателя фантаста Генриха Сауловича Альтшуллера |
|
| октябрь 2001 | |
Листок ТРИЗОВЦА №5
“Мышление талантливо тогда, когда оно работает в соответствии с законами внешнего мира” (Г.С. Альтшуллер). |
В этом номере:
|
|
Можно привести несколько исключений, в смысле отрицательного творчества, но все равно прогресс остается, держится он на творчестве.
Человек, занятый творчеством, не может быть плохим человеком, ему неинтересно быть плохим человеком - это только отнимает время."(Г.С. Альтшуллер, И.М. Верткин. "Как стать гением")
Генрих Саулович Альтшуллер
Нам, для кого ТРИЗ стала привычной частью жизни, трудно представить, что еще совсем недавно ТВОРЧЕСТВО считалось уделом избранных, одаренных. Считалось, что решать проблемы, сочинять, изобретать могут лишь редкие таланты, а обычные люди должны хорошо выполнять инструкции - и только.
Созданная Альтшуллером теория сделала творчество доступным всем. Всем, кто хочет расти, работать, ставить себе достойные цели и добиваться их.
Он был великим ученым. Все основные разделы ТРИЗ и РТВ
: Законы Развития Техники, Алгоритм Решения Изобретательских Задач (АРИЗ), Вепольный анализ, Изобретательские Стандарты, Приемы Фантазирования - все это было создано им с помощью его учеников. В последние годы он занимался разработкой Теории Развития Творческой Личности (ТРТЛ).Альтшуллер был блестящим писателем-фантастом (он писал под псевдонимом Генрих Альтов), автором смелых идей, захватывающих сюжетов, благородных героев. Он всегда писал просто и понятно, даже когда речь шла о сложных изобретениях и серьезных разделах теории. В научных статьях, в популярных книгах по ТРИЗ - он оставался писателем, фантастом, романтиком.
Он был замечательным педагогом. До сих пор самыми глубокими знаниями по ТРИЗ отличаются те, кто прошел семинары Альтшуллера.
Он первым начал занятия ТРИЗ с детьми - через рубрику “Изобретать - это так просто!!!” в газете “Пионерская правда”. Объяснял в своих статьях основные инструменты ТРИЗ, предлагал задачи, и после каждой публикации разбирал мешок писем, десятки тысяч писем от читателей “Пионерской правды”. Так изучало ТРИЗ поколение ваших учителей.
Об учителе судят по его ученикам. В разных концах мира: в России и Латвии, в Америке и Канаде, в Финляндии и Израиле, в Корее и Англии работают люди, для которых ТРИЗ стала главным делом, профессией, СУДЬБОЙ. Их число растет и будет расти, потому что ХХI век - обязательно - станет веком творчества.
А.А. Нестеренко


Много времени прошло с того дня, когда ТРИЗ был представлен на всеобщее обозрение. В узких кругах он сразу же приобрел популярность, но для широких масс это сочетание четырех букв оставалось и остается на сегодняшний день загадкой. Знают ли что-нибудь о ТРИЗ и его создателе в нашем городе? Когда мы шли опрашивать людей на улицах, у нас была уверенность, что знают: ведь судьба ТРИЗ тесно связана с Петрозаводском. Здесь прожил последние годы своей жизни Г.С.Альтшуллер, здесь открыты ТРИЗовские классы, а сама теория преподается на специально отведенном для нее уроке. И, честно говоря, мы были крайне удивлены результатами опроса. На наши вопросы: “Знаете ли вы, что такое ТРИЗ?” и “Кем был Г.С.Альтшуллер?” не ответил правильно никто, причем вариантов ответов на первый вопрос мы не получили вообще. Зато мы получили заряд хорошего настроения, когда узнали, кем был изобретатель ТРИЗ, от прохожих. Оказывается, Альтшуллер был спортсменом, космонавтом, программистом, художником, а кто-то даже сказал, что Альтшуллер – это стоматолог.
И лишь один из опрашиваемых сказал, что он был инженером.
Да, плохо у нас в городе знают, что такое ТРИЗ. И это огорчает! Но хочется верить, что через несколько лет, подойдя на улице к любому мальчугану с вопросом: “Знаете ли вы, кем был Альтшуллер?”, в ответ мы услышим: “Что за глупый вопрос! Конечно, знаю!"
Д.Стародубцев
Мы верим, что придет время, когда памятник Генриху Сауловичу Альтшуллеру будет украшать центр нашего города и многих других городов мира. Нам бы хотелось приблизить это время, поэтому редакция "Листка" предложила своим одноклассникам групповую творческую работу:
| Результаты
этой работы мы публикуем в сегодняшнем номере
газеты. Вращающаяся рука, указывающая на
решение на лестнице, вырубленной в неотесанном
камне (А.Нестеренко,
А.Екимов, А.Дегтев, Ю.Сабанцев) |
Рисунки:
В.Екимовой, Е.Еремушкиной, А.Кузнецова,
А.Нестеренко. Изобретение ТРИЗ дало человеку силы управлять природой: стихией огня, воды и другими стихиями. (К. Белов, А. Кузнецов, С. Клименко, В. Питерский, Д. Стародубцев).
Птица, ломающая клетку, чтоб улететь в небо .( Л. Конкка, Д. Антипов, М.
Васильев, Л. Терещенков).
|
||
На руке вращается Земной
шар. Лампочки в виде слова ТРИЗ освещают Землю,
постепенно увеличивая угол освещения.
(В. Екимова, А. Кошкарова, А.
Никитина). |
|||
| Выбери
свой путь. (Е.Еремушкина,
Н. Каргинова, А. Корзунина, Е. Михеева)
ЦЕЛЬ |
|||
| Путь к цели, которым идут многие. | Путь, который нашел и выбрал для себя Г.С. Альтшуллер | ||
Мы и наши велосипедыВелосипед - вещь полезная, дешевая сама по себе, а также дешевая в эксплуатации(на бывшие в употреблении запчати цена понижена в 7раз!) Обычный велосипед можно купить примерно за 600-700 рублей. А в плохом состоянии (придется его доработать) ~300-400руб. Многоскоростные велосипеды несколько дороже.
Я и многие мои друзья узнали на собственной шкуре, что такое недоработки в конструкции велосипеда, и хотим поделиться с читателями, хотим, чтобы читатели поделились с нами. Следует сказать, что на наших, мягко говоря, неновых велосипедах мы проколесили по всем типам карельских дорог за 4 дня ~200 км. И мы, и велосипеды, как ни странно, это выдержали.
Теперь
о велопроблемах. Наши (русские) велосипеды далеки
от совершенства (впрочем, нерусские - тоже).
Приходится из-за этого вкладывать лишние деньги,
лишнее время и иметь лишние неудобства (аварии,
больные нервы, вывихнутые ноги,…).
Несложно проанализировать, какие задачи пытались решать на заводе, и как это удалось.
1. Эти задачи заводу решить практически не удалось.
1.1. Крепление педали
Педаль(3) крепится к оси(2) при помощи клина(1).В случае разбалтывания клина (4 руб.), что бывает часто, может повредиться паз оси => нужно менять ось(35 руб.)
При повреждении,
к примеру, большой звезды, приходится менять ОБА
шатуна (180руб.), а смена 2-звездного шатуна,
обходится в 400руб. Как разделить шатун и звезду
(звезды)?
Если смазывать цепь, то (плюс): она не портится, не скрипит, не трётся; но (минус): если попадает земля\песок - трется, скрипит, портится.
Решение, реализованное на заводе: установка сложного механизма очистки цепи при помощи щеток и масленки(>200руб).
Как известно, самым надежным тормозом является задний педальний. Но на спортивных велосипедах водители вынуждены отказаться от этого способа торможения, и вот почему:
* во время движения(рис 2 А) нагрузка передается по нижнему участку цепи, то есть прямо на звездочку(2), а механизм(3) обеспечивает натяжение(4) ненагруженной цепи(5).
* в
случае заднего торможения(рис.2Б) нагрузка теперь
передается по верхней цепи, М не может обеспечить
такое сильное натяжение, он прогибается, нижняя
часть цепи обвисает и цепь может слететь, что
конечно же недопустимо при торможении.
Мое решение:(рис 2. В) установить механизмы с двух сторон и пружину между ними. Т.о. натяжение цепи будет всегда сохраняться, а механизмы будут отогнуты на нагрузочную сторону цепи.

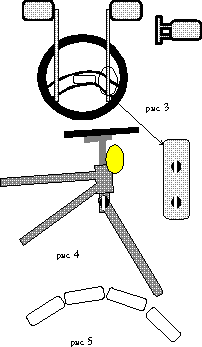
Богданов Е. снарядил свой велосипед: 1) авторулем, 2) зеркалами, 3)фарой. Руль к оси приваривается за небольшой гонорар. Фара делается из автофары со включенными туда 3мя мал. лампочками (от "динамы"), зеркала крепятся к рулю на железных штырях (кстати, в руль встроен динамик!). - рис 3.
3.2. Увеличение базы(r между колесами) велосипеда
Новинка все от того же Богданова Е. Он вынес вилку вперед, как показано на рисунке, чем удалил заднее колесо от педали, придал велосипеду устойчивость. - рис 4.
Это изобретение сделано самим автором статьи. Крыло состоит из 4х частей (миникрыльев), скрепленных алюминиевыми перегородками. Изгибать крыло можно в любых пределах. Заклепочное крепление каждой из 4-х частей гарантирует их устойчивость - рис. 5.
Приглашаем всех принять посильное участие в нелегком деле изобретения велосипеда.
Алексей Нестеренко, 11-Ц
Одно из
главных положений ТРИЗ гласит: мир системен. А,
как известно, любую систему можно менять и
совершенствовать. Так почему же нам не
усовершенствовать такую систему, как
человеческий организм? Точнее, позвоночник
человека. Но для начала необходимо выяснить,
неужели наш позвоночник нуждается в изменениях?
И действительно это подтверждает тот факт, что
заболевания опорно-двигательной системы – самые
распространенные хронические заболевания, и
каждый второй человек в течение своей жизни
испытывает различные проявления этих болезней:
остеохондроз, смещение позвонков и прочее. Из
вышесказанного мы можем сделать плачевный вывод:
наш позвоночник – не идеален! Сделав такой вывод,
мы решили заняться этой проблемой. И целью нашей
работы было конструирование модели идеально
приспособленного к прямохождению позвоночника.
Как известно, любой скелет несет три главные функции: защита, опора и движение, которые в большей или меньшей степени выполняются внутренним, внешним и гидростатическим скелетом. В нашей работе мы уделяли наибольшее внимание внутреннему скелету человека.
Для начала, мы просмотрели эволюционное изменение системы опоры. Первоначально эта система была представлена хрящевой трубкой – хордой. Но хорда – не лучшее решение, т.к. она не решала противоречия: система опоры должна быть прочной (твердой), чтобы выдерживать нагрузки и должна быть гибкой (мягкой), чтобы увеличить степень подвижности. Таким образом, в результате эволюции появился наш позвоночник, а также позвоночник других животных. Надо отметить, что скелет каждого животного имеет специализированные приспособления для движения в определенной среде. У человека тоже есть приспособления к прямохождению. Но тут можно заметить, что все эволюционные изменения позвоночника можно обусловить развитием по ЗРТС. Например – деление позвоночника на позвонки (закон перехода с макро- на микроуровень), естественные изгибы (закон перехода в надсистему), губчатое строение позвонка (закон перехода с макро- на микро), и, наконец, проблему, “истирания менисков можно
объяснить законом неравномерного развития частей системы.
И вообще, можно заметить, что некоторые
биологические законы звучат как ЗРТС. Например,
известно, что в результате эволюции
биологические системы склонны 
степени идеальности);
И мы взяли на себя смелость предположить, что, поскольку начальный эволюционный путь согласуется с ЗРТС, то и дальнейшая эволюция будет идти по этим законам.
В результате у нас получился фонд следующих “позвоночных” преобразований.
Конечно же, было бы неправильно считать, что такие преобразования наверняка “улучшат” наш позвоночник, так как неизвестно, как в результате изменится наш организм в целом. Ведь преобразование одной подсистемы может изменить структуру и работу всей системы. Все решения необходимо оценивать с точки зрения идеальности. Но как известно, идеальным решение будет в том случае, когда организм, человека в результате эволюции САМ изменит позвоночник. Таким образом, этот факт исключает всякое вмешательство со стороны самого человека. Но, по-моему, не обязательно “переделывать” наш скелет. Необходимо лишь ускорить эволюцию в определенном направлении.
В дальнейшем, с развитием техники, наверняка мы сможем помочь себе справиться с большинством болезней. И в этом случае нам очень важно уметь предугадывать и прогнозировать болезни, в чем нам могут помочь ЗРТС. Таким образом, в недалеком будущем ЗРТС станут общесистемными, и найдут применение в новых сферах.
Е. Михеева, 11-ц
ПРОБЛЕМА... ПРОБЛЕМА... ПРОБЛЕМА...
"Пьяницы стали пьяницами
только от того, что не пьяницы, не делая себе
вреда, научили их пить вино, соблазнили их своим
примером". (Л.Н.Толстой)
1) Низкий уровень развития личности
2) Стремление к новым ощущениям3)Алкоголь как способ проведения досуга
4)Отсутствие системы школьного и семейного антиалкогольного воспитания.
5) Высокий уровень алкогольной пропаганды в СМИ
Мы проанализировали все известные способы борьбы с пьянством и пришли к выводу, что все они малоэффективны или вовсе бесполезны. Мы придумали, что реально можно сейчас сделать.
- Пойти по пути решения следующего противоречия: рекламу алкоголя необходимо убрать из СМИ, но нельзя этого делать по причине финансовых трудностей.- Или внедрить в алкогольный напиток вещество, которое при попадании в кровь (в специфической для каждого человека дозе) на время парализует человека, не принося вреда здоровью.
- В продукты питания добавлять какие-то вещества, при смешении которых с большой дозой алкоголя получается слабительное средство.
- Неплохо бы придать алкогольным напиткам свойства на время (примерно на сутки) окрашивать кожу человека в специфический (синий, зеленый, фиолетовый,…) цвет.
Поскольку наших предложений явно недостаточно, мы просим читателей приносить свои решения в библиотеку (решений, наподобии "сухого закона" в США, желательно не предлагать).
(Доброжелатели)
На рисунке
изображены 4 пары следов, затем 2 пары исчезают, а
через небольшое расстояние остается только одна
пара. Объясните, как это произошло.
Как можно
напугать
самое страшное на свете чудовище, которое никого и ничего не боится?
В чашку с чаем упала кнопка.
Как достать кнопку без помощи рук и других
посторонних предметов.
Задачи составили для вас
Вероника Екимова и Александра Никитина,11-Ц.
Победители получат призы!
Диплом 2-й степени получила Е.Михеева, 11-Ц ("Перспективы нашего позвоночника с позиций ТРИЗ", руководитель - Н.Б. Голицына). Наш "Листок ТРИЗовца" тоже получил диплом 2-й степени в номинации ("Лучшее решение в нетехнических областях"), с чем мы себя и поздравляем.
Поздравляем Сашу Галова, занявшего 2-е место на конференции и выигравшего Интеллектуальный марафон.
А.А. Нестеренко
День Тризовца - один из самых молодых праздников. 3 года назад тризовцы всего мира договорились отмечать свой праздник 15 октября, в день Рождения автора ТРИЗ. Это решение было принято сразу после смерти Генриха Сауловича Альтшуллера, и для всех, кто знал этого великого человека, для его учеников, соратников, это был "праздник со слезами на глазах". Таким он остается и сейчас.
15 октября тризовцы собираются вместе, чтобы вспомнить о своем Учителе, а те, кому удается встретить этот день в Петрозаводске, приходят на могилу Альтшуллера на Сулажгорском кладбище для выдающихся людей города.
В этом году 15 октября мы надеемся принять в гимназии участников 1-й детской конференции Международной Ассоциации ТРИЗ и их замечательных руководителей.
И все-таки, в нашей гимназии День Тризовца - это живой и веселый праздник. Нам кажется, что, доставляя себе и другим радость изобретательства, смекалки, творчества, мы научимся ценить дар, оставленный нам в наследство автором ТРИЗ - науку, позволяющую каждому почувствовать себя талантливым. Было бы только желание учиться.
Итак - наши конкурсы ко ДНЮ ТРИЗОВЦА:
Подобные
задачи детям 70-х годов предлагал Генрих Саулович
Альтшуллер
Нарисуйте, как может выглядеть природа на этой планете.
Ваши рисунки, проекты и предложения (в письменном виде) сдавайте в библиотеку Лидии Михайловне. Работы принимаются с 8 по 13 октября. Выставка работ - на стендах 3-го этажа.
Решить задачи красиво и нестандартно вам помогут книги по ТРИЗ. Выставка книг - в библиотеке.
А эти -
менее серьезные - конкурсы предлагает вам наш
тризовский коллектив
Конкурс на самую лучшую
шпаргалку. Оценивается информативность,
простота изготовления, удобство использования.
Конкурсные шпаргалки принимаются и
демонстрируются в библиотеке.