"БВ"

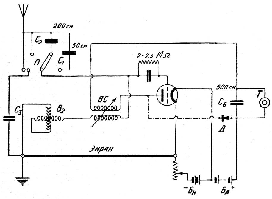
Принципиальная схема здесь